반응형
■ Drawing section 기능 소개
| Creo View의 Section 기능은 3D 모델을 효과적으로 잘라내어 내부를 보여주는 기능을 의미합니다. Section 기능을 사용하면 3D 모델을 다른 각도에서 볼 때 내부 구조와 상호 작용을 이해하는 데 도움이 됩니다. 이는 제품 설계, 조립 및 제조 과정에서 중요한 정보를 시각적으로 전달하고, 문제를 해결하거나 개선 사항을 파악하는 데 도움이 됩니다. |
![]() |
Drawing View 기능을 사용 하여 section을 추가 할수 있습니다.3D 모델에서 section 기능을 추가 하고, Drawing View에서
3D 모델에 저장된 section 이름을 호출 합니다. 3가지 주요 기능이 있습니다

1. No section
도면에 표시된 section을 제거 합니다
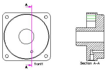
2. 2D Cross-section
부품 또는 어셈블리 모드에서 횡단면을 생성 및 저장하고 도면에 표시할 수 있습니다

Total section : 단면을 만들 때 보이는 모델의 단면 영역과 가장자리를 표시합니다.
Area section : 영역 횡단면은 형상 없이 횡단면만 표시합니다.
| Cross Section in Assembly Mode | Total Cross Section in Drawing Mode | Area Cross Section in Drawing Mode |
![]() |
![]() |
![]() |
▷ 다음 사이트에서 예제를 다운로드 하여 연습을 해보세요 . . .
PTC Help Center
Your browser has DOM storage disabled. Make sure DOM storage is enabled and try again.
support.ptc.com
▷ 참고 동영상 입니다
3. Single part surface
특정 작업이나 검토를 위해 부품의 표면만을 볼 필요가 있을 수 있습니다. 이때 "To Display a Single Part Surface View" 기능은 선택한 단일 부품의 표면을 강조하고 내부가 아닌 표면만 시각적으로 표시하는 역할을 합니다.

▷ 참고 동영상 입니다
■ Section 화살표 이동 방법
1) 화살표 선 - 두 단면 화살표를 동시에 이동합니다. 횡단면의 이름도 화살표와 함께 이동합니다.
2) 화살촉 - 화살표와 횡단면의 해당 이름을 이동합니다.

▷ Section 라인 조정 옵션
- cutting_line - 가공선 디스플레이의 표준(ANSI, ISO, ESKD 및 GB)을 결정합니다.
- cutting_line_adapt - 전체 선 세그먼트의 중간에서 시작하여 전체 선 세그먼트의 중간에서 끝나도록 적응형 횡단면 보기를 표시하는 데 사용되는 모든 선 모양의 디스플레이를 설정합니다.
- cutting_line_segment - 가공선의 두꺼운 부분 길이를 제어합니다.
- cutting_line_segment_thickness - 가공선의 끝과 내부 모서리에 나타나는 가공선 세그먼트의 두께를 설정합니다.
| cutting_line ANSI | cutting_line ANSI | cutting_line ISO | cutting_line ISO |
![]() |
![]() |
![]() |
![]() |
section text 위치. Cutting 라인 뚜께등의 환경 설정은 기술 지원을 받아 구축 하시길 바랍니다.
영업문의 : lionkk@idt21c.com
카카오 채널 : http://pf.kakao.com/_fItAxb
반응형
'Creo Reference Room > Drawing' 카테고리의 다른 글
| 3D Section 뷰 추가 방법 (0) | 2023.12.27 |
|---|---|
| Creo 9.0 심볼 사용하기 (0) | 2023.12.20 |
| #3 Drawing View - Scale 이란? (0) | 2023.08.14 |
| #2 Drawing View - Visible Area 이란? (0) | 2023.08.14 |
| #1 Drawing View - View Type 이란? (0) | 2023.08.14 |







